WX:grove_company

|
机型 |
DH7 m) |
DK (mm) |
LX+2 (mm) |
C7 (mm) |
MS (Nm) |
|
JKA..37 |
30 |
30 |
22 |
16 |
20 |
|
JKA..47 |
35 |
35 |
28 |
18 |
20 |
|
JKA..57 |
40 |
40 |
36 |
18 |
40 |
|
JKA..77 |
50 |
50 |
36 |
18 |
40 |
|
JKA..87 |
60 |
60 |
42 |
22 |
80 |
|
JKA..97 |
70 |
70 |
42 |
22 |
80 |
|
JKA..107 |
90 |
90 |
50 |
26 |
200 |
|
JKA..127 |
100 |
100 |
50 |
26 |
200 |
|
JKA..157 |
120 |
120 |
50 |
26 |
200 |

|
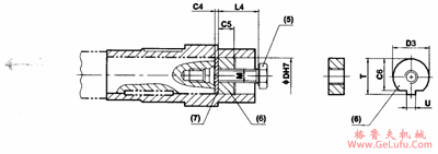
机型 |
DH7 |
M |
C4 |
C5 |
C6 |
U-0.5 |
T-0.5 |
D3-0.5 |
L4 |
|
JKA..37 |
30 |
M10 |
5 |
10 |
25 |
7.5 |
33 |
29.7 |
35 |
|
JKA..47 |
35 |
M12 |
5 |
12 |
29 |
9.5 |
38 |
34.7 |
45 |
|
JKA..57/67 |
40 |
M16 |
5 |
12 |
34 |
11.5 |
41.9 |
39.7 |
50 |
|
JKA..77 |
50 |
M16 |
5 |
12 |
43.5 |
13.5 |
53.5 |
49.7 |
50 |
|
JKA..87 |
60 |
M20 |
5 |
16 |
56 |
17.5 |
64 |
59.7 |
60 |
|
JKA..97 |
70 |
M20 |
5 |
16 |
65.5 |
19.5 |
74.5 |
69.7 |
60 |
|
JKA..107 |
90 |
M24 |
5 |
20 |
80 |
24.5 |
95 |
89.7 |
70 |
|
JKA..127 |
100 |
M24 |
5 |
20 |
89 |
27.5 |
106 |
99.7 |
70 |
|
JKA..157 |
120 |
M24 |
5 |
20 |
107 |
31 |
127 |
119.7 |
70 |
格鲁夫配件
www.gelufu.com.cn