Mobile:13331225020



|
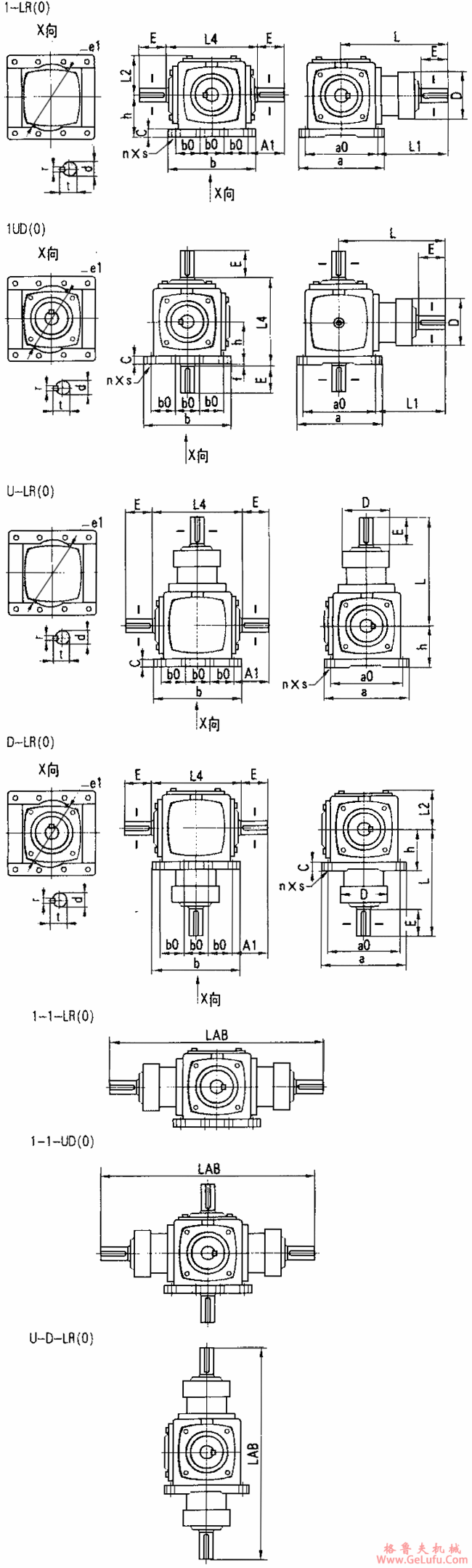
|
AT2 |
AT4 |
AT6 |
AT7 |
AT8 |
AT10 |
AT12 |
AT16 |
AT20 |
AT25 |
|
A1 |
48 |
53.5 |
81 |
88 |
110.5 |
120 |
130 |
150 |
195 |
235 |
|
a |
100 |
155 |
190 |
210 |
235 |
285 |
340 |
390 |
490 |
580 |
|
a0 |
84 |
125 |
152 |
174 |
195 |
240 |
290 |
330 |
430 |
520 |
|
b |
100 |
155 |
190 |
210 |
235 |
285 |
340 |
390 |
410 |
480 |
|
b0 |
84 |
125 |
152 |
174 |
195 |
240 |
290 |
330 |
110 |
130 |
|
c |
10 |
17 |
17 |
20 |
23 |
25 |
32 |
40 |
32 |
35 |
|
D |
58 |
76 |
115 |
125 |
159 |
155 |
168 |
193 |
220 |
270 |
|
d(h7) |
15 |
19 |
25 |
32 |
40 |
45 |
50 |
60 |
72 |
85 |
|
E |
33 |
38 |
50 |
62 |
75 |
90 |
100 |
105 |
105 |
130 |
|
e1(H8)×深 |
94×3 |
155×5 |
190×5 |
220×5 |
250×5 |
305×5 |
370×5 |
420×7 |
360×10 |
420×10 |
|
f |
5 |
2 |
17 |
13 |
18 |
10 |
0 |
10 |
10 |
10 |
|
h |
52 |
76 |
90 |
100 |
115 |
140 |
175 |
200 |
245 |
290 |
|
L |
124 |
180 |
222 |
265 |
308 |
360 |
415 |
455 |
545 |
660 |
|
L1 |
82 |
117.5 |
146 |
178 |
210.5 |
240 |
270 |
290 |
330 |
400 |
|
L2 |
52 |
76 |
87 |
97 |
114.5 |
133 |
160 |
186 |
217 |
255 |
|
L4 |
114 |
156 |
214 |
226 |
266 |
300 |
350 |
420 |
510 |
600 |
|
LAB |
248 |
360 |
444 |
530 |
616 |
720 |
830 |
910 |
1090 |
1320 |
|
n |
4 |
4 |
4 |
4 |
4 |
4 |
4 |
4 |
8 |
8 |
|
r |
5 |
6 |
8 |
10 |
12 |
14 |
14 |
18 |
20 |
22 |
|
s |
9 |
10.5 |
14 |
14 |
14 |
16 |
21 |
25 |
21 |
24 |
|
t |
17 |
21.5 |
28 |
35 |
43 |
48.5 |
53.5 |
64 |
76.5 |
90 |
|
|
|
AT6 |
AT7 |
AT8 |
AT10 |
AT12 |
AT16 |
AT20 |
AT25 |
|
4:1 |
d(h7) |
19 |
22 |
28 |
32 |
36 |
50 |
55 |
70 |
|
E |
38 |
50 |
62 |
62 |
75 |
100 |
105 |
105 | |
|
L |
210 |
253 |
295 |
362 |
415 |
465 |
560 |
660 | |
|
L1 |
134 |
178 |
212.5 |
242 |
270 |
300 |
345 |
400 | |
|
LAB |
420 |
530 |
620 |
724 |
830 |
930 |
1120 |
1320 | |
|
r |
6 |
6 |
8 |
10 |
10 |
14 |
16 |
20 | |
|
t |
21.5 |
24.5 |
31 |
35 |
39 |
53.5 |
59 |
74.5 | |
|
5:1 |
d(h7) |
19 |
22 |
28 |
32 |
36 |
42 |
50 |
60 |
|
E |
38 |
50 |
62 |
62 |
75 |
90 |
100 |
105 | |
|
L |
210 |
253 |
295 |
362 |
415 |
465 |
555 |
670 | |
|
L1 |
134 |
178 |
212.5 |
242 |
270 |
300 |
340 |
410 | |
|
LAB |
420 |
530 |
620 |
724 |
830 |
930 |
1110 |
1340 | |
|
r |
6 |
6 |
8 |
10 |
10 |
12 |
14 |
18 | |
|
t |
21.5 |
24.5 |
31 |
35 |
39 |
45 |
53.5 |
64 |