您好,欢迎进入格鲁夫机械设备制造有限公司官网!
减速机|丝杆升降机|减速电机|行业专用减速机|减速机配件|减速机厂|丝杆升降机厂|转向器厂

联系我们

邮箱:china@gelufu.com
电话:0312-6784766
在线咨询

蜗轮减速机

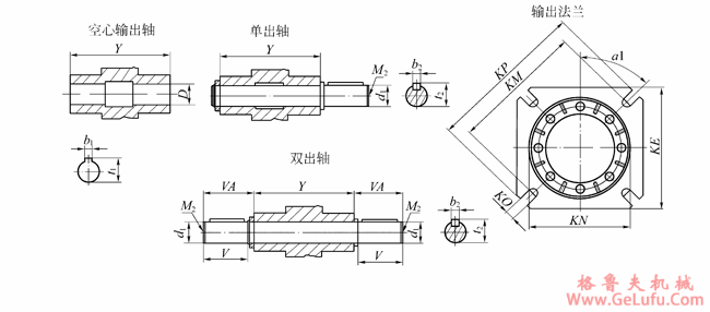
ANRV系列蜗轮蜗杆减速电动机安装尺寸

发布日期:2023-12-28 18:29 浏览次数:

ANRV系列蜗轮蜗杆减速电动机安装尺寸图解

ANRV系列蜗轮蜗杆减速电动机安装尺寸(图1)蜗轮蜗杆减速电动机安装尺寸"> gelufu.com

安装尺寸
ANRV系列<a href=蜗轮蜗杆减速电动机安装尺寸 " hspace=0 src="/uploads/allimg/20231228/1-23122QR9204Y.gif" width=650 border=0>
中心距
A
电机法兰尺寸
输入轴直径d
法兰
规格
D
M
P
b
t
传动比i
7.5
10
15
20
25
30
40
50
60
80
100
25
56B14
50
65
80
3
10.4
9
9
9
9
9
9
9
-
-
-
-
30
63B5
63B14
95
60
115
75
140
90
4
12.8
11
11
11
11
11
11
-
-
-
-
-
56B5
56B14
80
50
100
65
120
80
3
10.4
-
-
9
9
9
9
9
9
9
9
-
40
71B5
71B14
110
70
120
85
160
105
5
16.3
14
14
14
14
14
14
-
-
-
-
63B5
63B14
95
60
115
75
140
90
4
12.8
-
-
11
11
11
11
11
11
11
11
11
50
80B5
80B14
130
80
165
100
200
120
6
21.6
19
19
19
19
-
-
-
-
-
-
-
71B5
71B14
110
70
130
85
160
105
5
16.3
-
-
14
14
14
14
14
14
14
14
14
63B5
63B14
95
60
115
75
140
90
4
12.8
-
-
-
-
-
-
11
11
11
11
11
63
90B5
90B14
130
95
165
115
200
140
8
27.3
24
24
24
24
-
-
-
-
-
-
-
80B5
80B14
130
80
165
100
200
120
6
21.8
-
19
19
19
19
19
19
19
19
-
-
71B5
71B14
110
70
130
85
160
105
5
16.3
-
-
-
-
-
14
14
14
14
14
14
75
100B5
100B14
180
110
215
130
250
160
8
31.3
28
28
28
-
-
-
-
-
-
-
-
90B5
90B14
130
95
165
115
200
140
8
27.3
24
24
24
24
24
24
24
-
-
-
-
80B5
80B14
130
80
165
100
200
120
6
21.8
-
-
-
-
19
19
19
19
19
19
19
90
100/112B5
100/112B14
180
110
215
130
250
160
8
31.3
28
28
28
28
28
28
-
-
-
-
-
90B5
90B14
130
95
165
115
200
140
8
27.3
-
-
24
24
24
24
24
24
24
24
-
80B5
80B14
130
80
165
100
200
120
8
21.8
-
-
-
-
-
-
19
19
19
19
19
110
132B5
230
265
300
10
41.3
38
38
38
-
-
-
-
-
-
-
-
100/112B5
180
215
250
8
31.3
28
28
28
28
28
28
28
28
-
-
-
90B5
130
165
200
8
27.3
-
-
-
-
24
24
24
24
24
24
24
130
132B5
230
265
300
10
41.3
38
38
38
38
38
38
-
-
-
-
-
100/112B5
180
215
250
8
31.3
-
-
28
28
28
28
28
28
28
28
28
ANRV系列蜗轮蜗杆减速电动机安装尺寸
ANRV系列蜗轮蜗杆减速电动机安装尺寸(图2)
ANRV系列蜗轮蜗杆减速电动机安装尺寸(图3)
25
30
40
50
63
75
90
110
13
A
45
54
70
80
100
120
140
170
200
B
-
20
23
30
40
50
50
60
80
C
70
80
100
120
144
172
208
252.5
292.5
D(H8)
11
14
18
25
25
28
35
42
45
E
83
97
121.5
144
174
205
238
295
335
G
45
55
70
80
95
112.5
129.5
160
180
G1
45
51
60
74
90
105
125
142
170
G2
-
45
53
64
75
90
108
135
155
H
35
40
50
60
72
86
103
127.5
147.5
l
25
30
40
50
63
75
90
110
130
K
34
44
60
70
85
90
100
115
120
KA
F
45
54.5
67
90
82
111
111
131
140
FB
-
-
76.5
87.5
99
-
-
-
-
FL
-
-
97
120
112
-
-
-
-
KB
F
5
6
7
9
10
13
13
15
15
FB
-
-
9
10
11
-
-
-
-
FL
-
-
7
9
10
-
-
-
-
KC
F
2.5
4
4
5
6
6
6
6
6
FB
-
-
5
5
5
-
-
-
-
FL
-
-
4
5
6
-
-
-
-
KE
F
70
70
95
110
142
170
200
260
290
FB
-
-
-
-
-
-
-
-
-
FL
-
-
95
110
142
-
-
-
-
KM
F
55
68
87
90
150
165
175
230
255
FB
-
-
115
130
165
-
-
-
-
FL
-
-
87
90
150
-
-
-
-
KN
F
40
50
60
70
115
130
152
170
180
FB
-
-
95
110
130
-
-
-
-
FL
-
-
60
70
115
-
-
-
-
KO
F
6.5(n=3)
6.5(n=4)
9(n=4)
11(n=4)
11(n=4)
14(n=4)
14(n=4)
14(n=8)
16(n=8)
FB
-
-
9.5(n=4)
9.5(n=4)
11(n=4)
-
-
-
-
FL
-
-
9(n=4)
11(n=4)
11(n=4)
-
-
-
-
KP
F
75
80
110
125
180
200
210
280
320
FB
-
-
140
160
200
-
-
-
-
FL
-
-
110
125
180
-
-
-
-
KS
6.5(n=4)
M6×11(n=4)
M6×8(n=4)
M8×10(n=4)
M8×14(n=8)
M8×14(n=8)
M10×18(n=8)
M10×18(n=8)
M12×21(n=8)
L
42
56
71
85
103
112
130
144
155
M
55
65
75
85
95
115
130
165
215
M1
-
-
M6
M6
M8
M8
M10
M10
M12
M2
-
M6
M6
M10
M10
M10
M12
M16
M16
N
45
55
60
70
80
95
110
130
180
O
6
6.5
6.5
8.5
8.5
11
13
14
16
P
-
75
87
100
110
140
160
200
250
Q
35.5
44
55
64
80
93
102
125
140
R
48
57
71.5
84
102
119
135
167.5
187.5
S
5
5.5
6.5
7
8
10
11
14
15
T
22
32
43
49
67
72
74
-
-
U
22.5
27
35
40
50
60
70
85
100
V
23
30
,
40
50
50
60
80
80
80
VA
25.5
32.5
43
53.5
53.5
63.5
84.5
84.5
85
W
-
40
50
60
72
86
103
127.5
147.5
Y
50
63
78
92
112
120
140
155
170
a
10°
45°
45°
45°
45°
45°
45°
45°
a1
45°
45°
45°
45°
45°
45°
45°
45°
22.5°
b
-
3
4
5
6
8
8
8
8
b1
4
5
6
8
8
8
10
12
14
b2
4
5
6
8
8
8
10
12
14
d
-
9
11
14
19
24
24
28
30
d1
11
14
18
25
25
28
35
42
45
t
-
10.2
12.5
16
21.5
27
27
31
33
t1
12.8
16.3
20.8
28.3
28.3
31.3
38.3
45.3
48.8
t2
12.5
16
20.5
28
28
31
38
45
48.5
双级蜗杆减速机
ANRV系列蜗轮蜗杆减速电动机安装尺寸(图4)
ANRV系列蜗轮蜗杆减速电动机安装尺寸(图5)
30/40
40/50
40/63
50/75
63/110
75/130
30/40
40/50
40/63
50/75
63/110
75/130
l
40
50
63
75
110
130
R1
57
71
71
84
102
119
l2
30
40
40
50
63
75
A
70
80
100
120
170
200
G
67
90
82
102
139
151.5
EA
63
71
71
80
95
112.5
H
50
60
72
86
127.5
147.5
G1
50
61
61
74
90
105
H1
40
50
50
60
72
86
K
60
70
85
90
115
120
KM
87
90
150
165
230
255
S
6.5
7
8
10
15
15
M
75
85
95
115
165
215
O
7
8.5
8.5
11
14
16
KN
60
70
115
130
170
180
T
43
49
67
72
-
-
N
60
70
80
95
130
180
E
121
144
174
205
295
334
C
100
120
144
172
252.5
292.5
t
10.2
12.5
12.5
16
21.5
27
AQ
80
100
100
120
144
172
t1
20.8
28.3
28.3
31.3
45.3
48.8
L
71
85
103
112
144
155
b
3
4
4
5
6
8
α
45°
45°
45°
45°
45°
45°
b1
6
8
8
8
12
14
KC
4
5
6
6
6
6
d
9
11
11
14
19
24
KP
110
125
180
200
280
320
D
18
25
25
28
42
45
KB
7
9
10
13
15
15
B
20
23
23
30
40
50
KO
4-φ9
4-φ11
4-φ11
4-φ14
8-φ14
8-φ16
WG
36.5
43.5
53
57
74
80.5
P
87
100
110
140
200
250
WG1
29
36.5
36.5
43.5
53
57
KS
4-M6
4-M8
8-M8
8-M8
8-M10
8-M12
Y
78
92
112
120
155
170
α1
45°
45°
45°
45°
45°
22.5°
U
35
40
50
60
85
100
KE
95
110
142
170
260
290
Q
55
64
80
93
125
140
R
71
84
102
119
167.5
187.5
Z
122
141
153
188
228
275

Copyright © 2023-2025 格鲁夫 版权所有 备案号:冀ICP备19023093号-2

电子营业执照图标 电子营业执照
选择语言
Hello,欢迎来咨询~