邮箱:china@gelufu.com

|
机座号 |
56 |
63 |
71 |
80 |
90 |
100 |
112 |
132 |
150 |
180 | |||||||||
|
功率(kW) |
0.06 |
0.09 |
0.13 |
0.18 |
0.25 |
0.37 |
0.55 |
0.37 |
1.1 |
1.5 |
2.2 |
3 |
4 |
5.5 |
7.5 |
11 |
15 |
18.5 |
22 |
|
X |
150 |
207 |
245 |
225 |
260 |
285 |
320 |
340 |
395 |
435 |
490 |
535 |
560 |
600 | |||||
|
Y |
120 |
130 |
165 |
145 |
175 |
205 |
230 |
270 |
325 |
360 | |||||||||
|
型号 |
D(h6) |
B |
B1 |
L |
L1 |
f |
b |
t |
|
25 |
11 |
23 |
25.5 |
81 |
101 |
- |
4 |
12.5 |
|
30 |
14 |
30 |
32.5 |
102 |
128 |
M6 |
5 |
16 |
|
40 |
18 |
40 |
43 |
128 |
164 |
M6 |
6 |
20.5 |
|
50 |
25 |
50 |
53.5 |
153 |
199 |
M10 |
8 |
28 |
|
63 |
25 |
50 |
53.5 |
173 |
219 |
M10 |
8 |
28 |
|
75 |
28 |
60 |
63.5 |
192 |
247 |
M10 |
8 |
31 |
|
90 |
35 |
80 |
84 |
234 |
308 |
M12 |
10 |
38 |
|
110 |
42 |
80 |
84.5 |
249 |
324 |
M16 |
12 |
45 |
|
130 |
45 |
80 |
85 |
265 |
340 |
M16 |
14 |
48.5 |
|
150 |
50 |
102 |
110 |
324 |
420 |
M20 |
14 |
53.5 |
|
185 |
60 |
112 |
120 |
374 |
480 |
M20 |
18 |
64 |

|
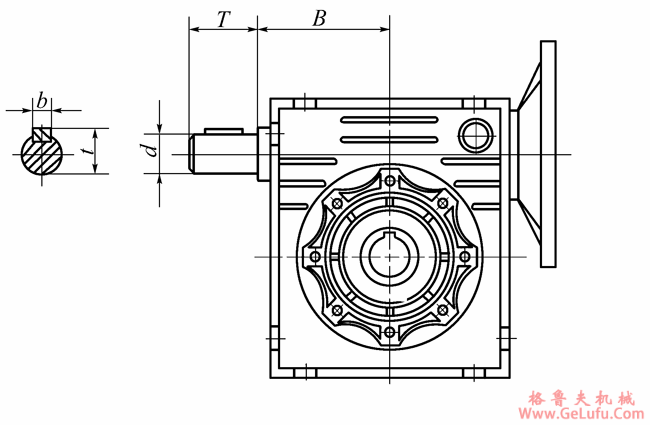
型号 |
B |
d(j6) |
T |
b |
t |
|
30 |
45 |
9 |
20 |
3 |
10.5 |
|
40 |
53 |
11 |
23 |
4 |
12.5 |
|
50 |
64 |
14 |
30 |
5 |
16 |
|
63 |
75 |
19 |
40 |
6 |
21.5 |
|
75 |
90 |
24 |
50 |
8 |
27 |
|
90 |
108 |
24 |
50 |
8 |
27 |
|
110 |
135 |
28 |
60 |
8 |
31 |
|
130 |
155 |
30 |
80 |
8 |
33 |
|
150 |
210 |
35 |
80 |
10 |
38 |
|
185 |
240 |
40 |
80 |
12 |
43 |

|
型号 |
A |
B |
C |
D |
E |
F |
G |
H |
I |
|
25 |
70 |
33 |
118 |
45 |
55 |
7 |
14 |
8 |
6 |
|
30 |
85 |
38 |
138 |
54 |
65 |
7 |
14 |
8 |
6 |
|
40 |
100 |
44 |
162 |
60 |
75 |
7 |
14 |
10 |
12 |
|
50 |
100 |
50 |
168 |
70 |
85 |
9 |
14 |
10 |
12 |
|
63 |
150 |
55 |
223 |
80 |
95 |
9 |
14 |
10 |
12 |
|
75 |
200 |
70 |
300 |
95 |
115 |
9 |
25 |
20 |
20 |
|
90 |
200 |
80 |
310 |
110 |
130 |
11 |
25 |
20 |
20 |
|
110 |
250 |
100 |
385 |
130 |
165 |
11 |
30 |
25 |
25 |
|
130 |
250 |
125 |
410 |
180 |
215 |
14 |
30 |
25 |
25 |
|
150 |
250 |
125 |
410 |
180 |
215 |
14 |
30 |
25 |
25 |
|
185 |
300 |
150 |
495 |
230 |
265 |
18 |
30 |
25 |
25 |

|
机型号 |
L1 |
L2 |
L3 |
e |
d1 |
b1 |
h1 |
|
EWRV40/WB65 |
70 |
71 |
40 |
16 |
10 |
3 |
11 |
|
EWRV80/WB65 |
80 |
71 |
40 |
16 |
10 |
3 |
11 |
|
EWRV63/WB85 |
95 |
83 |
42 |
16 |
12 |
3 |
13 |
|
EWRV75/WB85 |
120 |
83 |
42 |
16 |
12 |
3 |
13 |
|
EWRV75/WB100 |
120 |
100 |
45 |
20 |
14 |
4 |
16 |
|
EWRV90/WB100 |
137 |
100 |
45 |
20 |
14 |
4 |
16 |
|
EWRV110//WB100 |
160 |
100 |
45 |
20 |
14 |
4 |
16 |
|
EWRV130/WB120 |
180 |
126 |
50 |
22 |
15 |
5 |
17 |

|
机型号 |
Z |
A |
A0 |
H0 |
L4 |
N0 |
N1 |
|
EWRV40/40 |
120 |
40 |
30 |
40 |
63 |
32 |
58 |
|
EWRV50/30 |
130 |
50 |
30 |
40 |
63 |
32 |
58 |
|
EWRV63/40 |
153 |
63 |
40 |
50 |
74 |
40 |
74 |
|
EWRV75/50 |
172 |
75 |
50 |
60 |
90 |
47 |
88 |
|
EWRV90/50 |
189 |
90 |
50 |
60 |
90 |
47 |
88 |
|
EWRV110/63 |
234 |
110 |
63 |
72 |
100 |
56 |
106 |
|
EWRV130/63 |
245 |
130 |
63 |
72 |
100 |
56 |
106 |