格鲁夫

|
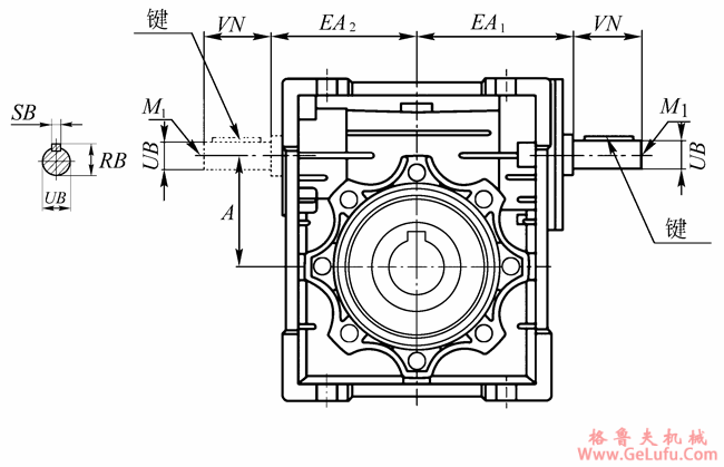
|
025 |
030 |
040 |
050 |
063 |
075 |
090 |
110 |
130 |
150 |
|
A |
25 |
30 |
40 |
50 |
63 |
75 |
90 |
110 |
130 |
150 |
|
EA1 |
- |
50 |
61 |
74 |
90 |
105 |
125 |
142 |
162 |
195 |
|
EA2 |
- |
45 |
53 |
64 |
75 |
90 |
108 |
135 |
155 |
175 |
|
M1 |
- |
- |
- |
M6 |
M6 |
M8 |
M8 |
M10 |
M10 |
M12 |
|
RB |
- |
10.2 |
12.5 |
16 |
21.5 |
27 |
27 |
31 |
33 |
38 |
|
SB |
- |
3 |
4 |
5 |
6 |
8 |
8 |
8 |
8 |
10 |
|
UB |
- |
9 |
11 |
14 |
19 |
24 |
24 |
28 |
30 |
35 |
|
VN |
|
20 |
23 |
30 |
40 |
50 |
50 |
60 |
80 |
80 |
|
输入轴平键 | ||||||||||
|
规格 |
- |
3×3 |
4×4 |
5×5 |
6×6 |
8×7 |
8×7 |
8×7 |
8×7 |
10×8 |
|
长度 |
- |
15 |
20 |
25 |
35 |
45 |
45 |
55 |
70 |
70 |