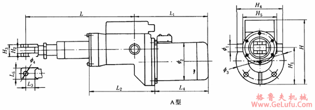
DG型电动推杆A型外形尺寸
发布日期:2023-12-28 20:43
浏览次数:
mail:china@gelufu.com
DG型电动推杆A型外形尺寸 gelufu.com.cn
www.gelufu.com
|
A
型 |
额定推力 |
额定行程/mm |
速度/mm・s-1 |
L |
L1 |
L2 |
L3 |
L4 |
L5 |
H |
H1 |
H2 |
H3 |
H4 |
H5 |
ψ1 |
ψ2 |
ψ3 |
ψ4 |
电动机型号M/K |
重量/kg |
|
100kgf(0.98kN) |
200 |
M:42
K:84 |
432 |
218 |
210 |
30 |
153 |
38 |
217 |
124 |
20 |
40 |
152 |
112 |
25 |
112 |
160 |
15 |
M:YZA5624
120W 0.47A
K:YZA5622
180W 0.52A |
20 |
|
400 |
632 |
218 |
210 |
30 |
153 |
38 |
217 |
124 |
20 |
40 |
152 |
112 |
25 |
112 |
160 |
15 |
22 |
|
600 |
832 |
218 |
210 |
30 |
153 |
38 |
217 |
124 |
20 |
40 |
152 |
112 |
25 |
112 |
160 |
15 |
24 |
|
800 |
1032 |
218 |
210 |
30 |
153 |
38 |
217 |
124 |
20 |
40 |
152 |
112 |
25 |
112 |
160 |
15 |
26 |
|
300kgf(2.94kN) |
200 |
M:42
K:84 |
453 |
302 |
230 |
30 |
237 |
40 |
229 |
128 |
20 |
40 |
175 |
130 |
25 |
148 |
160 |
15 |
M:YZA7134
550W 1.57A
K:YZA7132
750W 1.82A |
30 |
|
400 |
653 |
302 |
230 |
30 |
237 |
40 |
229 |
128 |
20 |
40 |
175 |
130 |
25 |
148 |
160 |
15 |
34 |
|
600 |
853 |
302 |
230 |
30 |
237 |
40 |
229 |
128 |
20 |
40 |
175 |
130 |
25 |
148 |
160 |
15 |
38 |
|
800 |
1053 |
302 |
230 |
30 |
237 |
40 |
229 |
128 |
20 |
40 |
175 |
130 |
25 |
148 |
160 |
15 |
42 |
|
500kgf(4.90kN) |
300 |
M:45
K:90 |
566 |
325/330 |
282 |
38 |
240 |
50 |
268 |
160 |
25 |
47 |
190 |
140 |
35 |
148/165 |
200 |
17 |
M:YZA7134
550W 1.57A
K:Y802-2
1.1kW 2.6A |
46 |
|
600 |
866 |
325/330 |
282 |
38 |
240 |
50 |
268 |
160 |
25 |
47 |
190 |
140 |
35 |
148/165 |
200 |
17 |
50 |
|
800 |
1066 |
325/330 |
282 |
38 |
240 |
50 |
268 |
160 |
25 |
47 |
190 |
140 |
35 |
148/165 |
200 |
17 |
54 |
|
1000 |
1266 |
325/330 |
282 |
38 |
240 |
50 |
268 |
160 |
25 |
47 |
190 |
140 |
35 |
148/165 |
200 |
17 |
58 |
|
700kgf(6.86kN) |
300 |
M:35
K:70 |
606 |
340 |
308 |
38 |
245 |
54 |
297 |
174 |
30 |
60 |
215 |
165 |
35 |
165 |
200 |
17 |
M:Y802-4
750W 2A
K:Y802-2
1.1W 2.6A |
71 |
|
600 |
906 |
340 |
308 |
38 |
245 |
54 |
297 |
174 |
30 |
60 |
215 |
165 |
35 |
165 |
200 |
17 |
77 |
|
800 |
1106 |
340 |
308 |
38 |
245 |
54 |
297 |
174 |
30 |
60 |
215 |
165 |
35 |
165 |
200 |
17 |
85 |
|
1000 |
1306 |
340 |
308 |
38 |
245 |
54 |
297 |
174 |
30 |
60 |
215 |
165 |
35 |
165 |
200 |
17 |
90 |
|
1000kgf(9.80kN) |
300 |
M:48
K:86 |
634 |
380 |
308 |
56 |
285 |
54 |
297 |
174 |
35 |
65 |
215 |
165 |
40 |
175 |
200 |
18 |
M:Y90L-4
1.5kW 3.7A
K:Y90L-2
2.2kW 4.7A |
82 |
|
600 |
934 |
380 |
308 |
56 |
285 |
54 |
297 |
174 |
35 |
65 |
215 |
165 |
40 |
175 |
200 |
18 |
88 |
|
800 |
1134 |
380 |
308 |
56 |
285 |
54 |
297 |
174 |
35 |
65 |
215 |
165 |
40 |
175 |
200 |
18 |
94 |
|
1000 |
1334 |
380 |
308 |
56 |
285 |
54 |
297 |
174 |
35 |
65 |
215 |
165 |
40 |
175 |
200 |
18 |
101 |
|
1600kgf(15.68kN) |
300 |
M:52
K:104 |
577 |
489 |
360 |
56 |
318 |
54 |
371 |
233 |
40 |
65 |
290 |
240 |
25 |
205 |
250 |
20 |
M:Y100L4-4
2.2kW 5A
K:Y100L-2
3kW 6.4A |
84 |
|
600 |
877 |
489 |
360 |
56 |
318 |
54 |
371 |
233 |
40 |
65 |
290 |
240 |
25 |
205 |
250 |
20 |
90 |
|
800 |
1077 |
489 |
360 |
56 |
318 |
54 |
371 |
233 |
40 |
65 |
290 |
240 |
25 |
205 |
250 |
20 |
96 |
|
1000 |
1277 |
489 |
360 |
56 |
318 |
54 |
371 |
233 |
40 |
65 |
290 |
240 |
25 |
205 |
250 |
20 |
103 |
格鲁夫
WX:grove_company |
|