Tel:0312-6784766
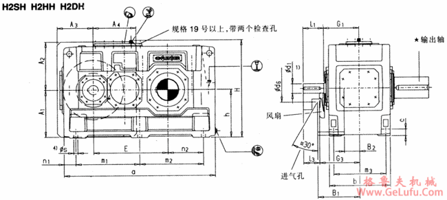
平行轴齿轮箱两级传动卧式安装(类型H2.H,H2.M) mail:china@gelufu.com
格鲁夫减速机
fax:0312-6784733
Tel:0312-6784766
|
规格 |
尺寸mm | |||||||||||||
|
输入轴 | ||||||||||||||
|
iN=6.3-11.2 |
iN=8-14 |
iN=12.5-22.4 |
iN=16-28 |
G1 |
G3 | |||||||||
|
d11) |
l1 |
l3 |
d11) |
l1 |
l3 |
d11) |
l1 |
l3 |
d11) |
l1 |
l3 | |||
|
3 |
35 |
60 |
- |
|
|
|
28 |
50 |
|
|
|
|
135 |
- |
|
4 |
45 |
100 |
80 |
|
|
|
32 |
80 |
60 |
|
|
|
170 |
190 |
|
5 |
50 |
100 |
80 |
|
|
|
38 |
80 |
60 |
|
|
|
195 |
215 |
|
6 |
|
|
|
50 |
100 |
80 |
|
|
|
38 |
80 |
60 |
195 |
215 |
|
7 |
60 |
135 |
105 |
|
|
|
50 |
110 |
80 |
|
|
|
210 |
240 |
|
8 |
|
|
|
60 |
135 |
105 |
|
|
|
50 |
110 |
80 |
210 |
240 |
|
9 |
75 |
140 |
110 |
|
|
|
60 |
140 |
110 |
|
|
|
240 |
270 |
|
10 |
|
|
|
75 |
140 |
110 |
|
|
|
60 |
140 |
110 |
240 |
270 |
|
11 |
90 |
165 |
130 |
|
|
|
70 |
140 |
105 |
|
|
|
275 |
310 |
|
12 |
|
|
|
90 |
165 |
130 |
|
|
|
70 |
140 |
105 |
275 |
310 |
|
规格 |
尺寸mm | |||||||||||
|
齿轮箱 | ||||||||||||
|
a |
A1 |
A2 |
A3 |
A4 |
b |
B1 |
B2 |
c |
c1 |
D5 |
d6 | |
|
3 |
450 |
- |
- |
- |
- |
190 |
- |
- |
22 |
24±1 |
18 |
- |
|
4 |
565 |
195 |
225 |
150 |
30 |
215 |
205 |
158 |
28 |
30±1 |
24 |
136 |
|
5 |
640 |
225 |
260 |
175 |
55 |
255 |
230 |
177.5 |
28 |
30±1 |
24 |
150 |
|
6 |
720 |
225 |
260 |
175 |
55 |
255 |
230 |
177.5 |
28 |
30±1 |
24 |
150 |
|
7 |
785 |
272 |
305 |
210 |
70 |
300 |
255 |
210 |
35 |
36±1 |
28 |
200 |
|
8 |
890 |
272 |
305 |
210 |
70 |
300 |
255 |
210 |
35 |
36±1 |
28 |
200 |
|
9 |
925 |
312 |
355 |
240 |
100 |
370 |
285 |
245 |
40 |
45±1.5 |
36 |
200 |
|
10 |
1025 |
312 |
355 |
240 |
100 |
370 |
285 |
245 |
40 |
45±1.5 |
36 |
200 |
|
11 |
1105 |
372 |
420 |
285 |
135 |
430 |
325 |
285 |
50 |
54±1.5 |
40 |
210 |
|
12 |
1260 |
372 |
420 |
285 |
135 |
430 |
325 |
285 |
50 |
54±1.5 |
40 |
210 |
|
规格 |
尺寸mm | |||||||||||
|
齿轮箱 | ||||||||||||
|
E |
g |
h |
h5 |
H |
m1 |
m3 |
n1 |
n2 |
n3 |
n4 |
s | |
|
3 |
220 |
71 |
175 |
110 |
360 |
290 |
160 |
80 |
65 |
285 |
132.5 |
15 |
|
4 |
270 |
77.5 |
200 |
110 |
415 |
355 |
180 |
105 |
85 |
345 |
150 |
19 |
|
5 |
315 |
97.5 |
230 |
150 |
482 |
430 |
220 |
105 |
100 |
405 |
180 |
19 |
|
6 |
350 |
97.5 |
230 |
150 |
482 |
510 |
220 |
105 |
145 |
440 |
180 |
19 |
|
7 |
385 |
114 |
280 |
190 |
572 |
545 |
260 |
120 |
130 |
500 |
215 |
24 |
|
8 |
430 |
114 |
280 |
190 |
582 |
650 |
260 |
120 |
190 |
545 |
215 |
24 |
|
9 |
450 |
140 |
320 |
205 |
662 |
635 |
320 |
145 |
155 |
585 |
245 |
28 |
|
10 |
500 |
140 |
320 |
215 |
662 |
735 |
320 |
145 |
205 |
635 |
245 |
28 |
|
11 |
545 |
161 |
380 |
250 |
782 |
775 |
370 |
165 |
180 |
710 |
300 |
35 |
|
12 |
615 |
161 |
380 |
250 |
790 |
930 |
370 |
165 |
265 |
780 |
300 |
35 |
|
规格 |
尺寸mm |
润滑油 |
重量
(kg) | |||||||||
|
输出轴 |
轴封
(1) |
迷宫式密封
(1) | ||||||||||
|
H2SH |
H2HH |
H2DH | ||||||||||
|
d21) |
G2 |
l2 |
D22) |
G4 |
D3 |
D4 |
G4 |
G5 | ||||
|
3 |
65 |
125 |
140 |
65 |
125 |
70 |
70 |
125 |
180 |
6 |
4.5 |
115 |
|
4 |
80 |
140 |
170 |
80 |
140 |
85 |
85 |
140 |
205 |
10 |
7 |
190 |
|
5 |
100 |
165 |
210 |
95 |
165 |
100 |
100 |
165 |
240 |
15 |
11 |
300 |
|
6 |
110 |
165 |
210 |
105 |
165 |
110 |
110 |
165 |
240 |
16 |
12 |
355 |
|
7 |
120 |
195 |
210 |
115 |
195 |
120 |
120 |
195 |
280 |
27 |
21 |
505 |
|
8 |
130 |
195 |
250 |
125 |
195 |
130 |
130 |
195 |
285 |
30 |
23 |
590 |
|
9 |
140 |
235 |
250 |
135 |
235 |
140 |
145 |
235 |
330 |
42 |
33 |
830 |
|
10 |
160 |
235 |
300 |
150 |
235 |
150 |
155 |
235 |
350 |
45 |
34 |
960 |
|
11 |
170 |
270 |
300 |
165 |
270 |
165 |
170 |
270 |
400 |
71 |
58 |
1335 |
|
12 |
180 |
270 |
300 |
180 |
270 |
180 |
185 |
270 |
405 |
76 |
60 |
1615 |