格鲁夫丝杆升降机
www.gelufu.com.cn
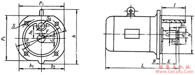
YDF系列电动机阀门用三相异步电动机(普通型)外形及安装尺寸 www.gelufu.com
Mobile:13331225020
传真:0312-6784733
|
型号 |
功率
KW |
E |
G |
F |
b7 |
h7 |
d2 |
M |
N |
S |
S4 |
D |
R |
b6 |
P |
b1 |
b2 |
h |
L |
p1 |
引线长
l |
|
YDF-11 |
0.025~0.12 |
23 |
8.5 |
4 |
1.1 |
5 |
10.5 |
130 |
110 |
10 |
12 |
11 |
6 |
38 |
160 |
65 |
65 |
145 |
220 |
130 |
400 |
|
YDF-21 |
0.18~0.25 |
30 |
11.5 |
13.4 |
145 |
120 |
12 |
14 |
42 |
175 |
72.5 |
72.5 |
155 |
235 |
145 | ||||||
|
YDF-22 |
0.37~0.55 |
12.8 |
5 |
15.2 |
16 |
280 | |||||||||||||||
|
YDF-31 |
1.1~1.5 |
50 |
18.2 |
6 |
21 |
215 |
180 |
15 |
16 |
22 |
72 |
250 |
100 |
100 |
255 |
345 |
200 | ||||
|
YDF-32 |
2.2~3.0 |
23.5 |
8 |
1.3 |
26.6 |
28 |
6 |
415 | |||||||||||||
|
YDF-41 |
4.0~5.5 |
60 |
26.8 |
10 |
6 |
30.3 |
265 |
230 |
20 |
32 |
9 |
92 |
300 |
125 |
125 |
340 |
430 |
250 |
500 | ||
|
YDF-42 |
7.5~10 |
32.8 |
12 |
1.7 |
36 |
38 |
505 | ||||||||||||||
|
YDF-51 |
13~17 |
90 |
36.8 |
39.5 |
350 |
300 |
19 |
28 |
42 |
115 |
400 |
180 |
180 |
440 |
630 |
360 |
600 | ||||
|
YDF-52 |
22~30 |
42.2 |
14 |
45.5 |
48 |
9 |
Mobile:13331225020