您好,欢迎进入格鲁夫机械设备制造有限公司官网!
减速机|丝杆升降机|减速电机|行业专用减速机|减速机配件|减速机厂|丝杆升降机厂|转向器厂

联系我们

邮箱:china@gelufu.com
电话:0312-6784766
在线咨询

齿轮减速机

TEX型齿轮减速机结构简介

发布日期:2023-12-28 18:58 浏览次数:

TEX型齿轮减速机结构简介(图1) 电话:0312-6784766

格鲁夫减速机

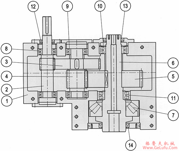
TEX-2P构造图

Mobile:13331225020

TEX型齿轮减速机结构简介(图2) 传真:0312-6784733

件号
部品名称
件号
部品名称
1
齿箱本体
8
轴承
2
入力轴
9
轴承
3
斜齿轮
10
轴承
4
齿轮轴
11
轴承
5
斜齿轮
12
油封
6
出力轴
13
油封
7
止推轴承
14
油封
格鲁夫减速机

TEX-3构造图 传真:0312-6784733

TEX型齿轮减速机结构简介(图3) WX:grove_company

件号
部品名称
件号
部品名称
件号
部品名称
1
齿箱本体
8
出力轴
15
油封
2
入力轴
9
止推轴承
16
油封
3
斜齿轮
10
轴承
17
油封
4
齿轮轴
11
轴承
18
5
斜齿轮
12
轴承
19
6
齿轮轴
13
轴承
20
7
斜齿轮
14
轴承
21

微信:grove_company

Copyright © 2023-2025 格鲁夫 版权所有 备案号:冀ICP备19023093号-2

电子营业执照图标 电子营业执照
选择语言
Hello,欢迎来咨询~