您好,欢迎进入格鲁夫机械设备制造有限公司官网!
减速机|丝杆升降机|减速电机|行业专用减速机|减速机配件|减速机厂|丝杆升降机厂|转向器厂

联系我们

邮箱:china@gelufu.com
电话:0312-6784766
地址:莲池区焦庄乡 在线咨询

齿轮减速机

JS型矿用垂直轴硬齿面减速机

发布日期:2023-12-28 18:48 浏览次数:

JS型矿用垂直轴硬齿面减速机 (图1)

WX:grove_company

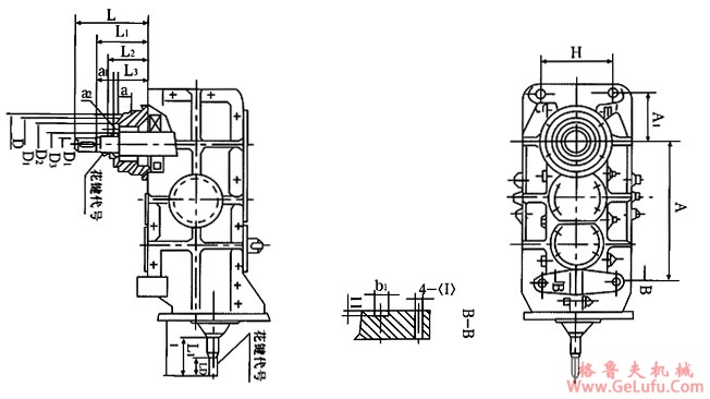
JS30Ⅱ~JS75型减速器外形
一、概述
JS型矿用垂直轴硬齿面减速器是按MT/T681-1997标准生产制造,具有体积小、重量轻、承载能力大寿命长等特点。主要适用于冶金、矿山、煤碳工作中使用的刮板输送机和顺槽刮板转载机,也适用于其它带式输送机。
二、工作条件
1、输入轴最高转速不大于1500r/min:
2、齿轮圆周速度不大于20r/s:
3、环境温度为-20~+40℃。当环境温度低于0℃时启动前润滑油应加热。
三、型号标记
标记示例:传递功率为200KW,第二种输入、输出型式尺寸的减速器标记为:JS200 Ⅱ。
JS型矿用垂直轴硬齿面减速机 (图2)
JS型矿用垂直轴硬齿面减速机 (图3)

Copyright © 2023-2025 格鲁夫 版权所有 备案号:冀ICP备19023093号-2

电子营业执照图标 电子营业执照