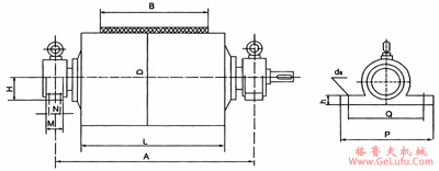
WX(WB、WD)T、WX(WB、WD)N电动滚筒安装尺寸表
发布日期:2023-12-28 20:32
浏览次数:
邮箱:china@gelufu.com
fax:0312-6784733
传真:0312-6784733
|
D |
B |
A |
L |
H |
M |
N |
P |
Q |
h |
dS |
|
320(400) |
500 |
850 |
850 |
120 |
90 |
― |
340 |
280 |
35 |
φ27 |
|
650 |
1000 |
1000 |
120 |
90 |
― |
340 |
280 |
35 |
φ27 |
|
800 |
1300 |
1300 |
120 |
90 |
― |
340 |
280 |
35 |
φ27 |
|
500 |
500 |
850 |
850 |
100 |
70 |
― |
340 |
280 |
35 |
φ27 |
|
650 |
1000 |
1000 |
120 |
90 |
― |
340 |
280 |
35 |
φ27 |
|
800 |
1300 |
1300 |
120 |
90 |
― |
340 |
280 |
35 |
φ27 |
|
630 |
650 |
1000 |
1000 |
120 |
90 |
― |
340 |
280 |
35 |
φ27 |
|
800 |
1300 |
1300 |
140 |
130 |
80 |
400 |
330 |
35 |
φ27 |
|
1000 |
1500 |
1500 |
140 |
130 |
80 |
400 |
330 |
35 |
φ27 |
|
1200 |
1750 |
1750 |
160 |
160 |
90 |
440 |
360 |
50 |
φ34 |
|
1400 |
2000 |
2000 |
160 |
160 |
90 |
440 |
360 |
50 |
φ34 |
|
800 |
800 |
1300 |
1300 |
140 |
130 |
80 |
400 |
330 |
35 |
φ27 |
|
1000 |
1500 |
1500 |
140 |
130 |
80 |
400 |
330 |
35 |
φ27 |
|
1200 |
1750 |
1750 |
160 |
160 |
90 |
440 |
360 |
50 |
φ34 |
|
1400 |
2000 |
2000 |
160 |
160 |
90 |
440 |
360 |
50 |
φ34 |
|
1000 |
1000 |
1500 |
1500 |
140 |
145 |
80 |
400 |
330 |
50 |
φ27 |
|
1200 |
1750 |
1750 |
160 |
160 |
90 |
440 |
360 |
50 |
φ34 |
|
1400 |
2000 |
2000 |
160 |
160 |
90 |
440 |
360 |
50 |
φ34 | |
|