您好,欢迎进入格鲁夫机械设备制造有限公司官网!
减速机|丝杆升降机|减速电机|行业专用减速机|减速机配件|减速机厂|丝杆升降机厂|转向器厂

联系我们

邮箱:china@gelufu.com
电话:0312-6784766
地址:莲池区焦庄乡 在线咨询

行业专用减速机

WD型外装式电动滚筒型号说明及结构图

发布日期:2023-12-28 20:32 浏览次数:

WD型外装式电动滚筒型号说明及结构图(图1) 格鲁夫丝杆升降机

一、概述
WD型外装式电动滚筒,是带式输送机又一种理想的驱动装置,它是集一般电动滚筒与其它已有的电动机―减速机―传动滚筒的驱动装置的优点于一身,并克服了二者之不足,具有可靠性高、传动平稳、噪音低、起动性能好、过载能力强、使用寿命长,维护方便等优点而开发的新型驱动装置。同样,可广泛应用于冶金、矿山、港口、仓库、化工、电力等行业和部门的各种带式输送机上作为驱动装置,尤其适用于环境温度比较高,使用条件恶劣的场所。
WD型外装式电动滚筒,功率在30千瓦以下,一般设计成电机悬置式,称WD1型;功率在30千瓦以上,电机为地脚固定,称为WD2型。
本系列电动滚筒,为密封型,在无特殊申明的情况下,一般采用电机均为B级绝缘,防护等级为IP44的Y系列电机,电压为380V,频率为50HZ,海拔不超过1000米,环境温度不超过40度。
二、标记示例

WD型外装式电动滚筒型号说明及结构图(图2) www.gelufu.com.cn

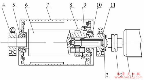
三、电动滚筒的结构图

WD型外装式电动滚筒型号说明及结构图(图3) mail:china@gelufu.com

1、电机 2、联轴器或偶合器 3、小透盖 4、左支座 5、左轴承座 6、左法兰轴
7、滚筒体 8、减速器 9、右端盖 10、右轴承座 11、右支座

Copyright © 2023-2025 格鲁夫 版权所有 备案号:冀ICP备19023093号-2

电子营业执照图标 电子营业执照