您好,欢迎进入格鲁夫机械设备制造有限公司官网!
减速机|丝杆升降机|减速电机|行业专用减速机|减速机配件|减速机厂|丝杆升降机厂|转向器厂

联系我们

邮箱:china@gelufu.com
电话:0312-6784766
在线咨询

行业专用减速机

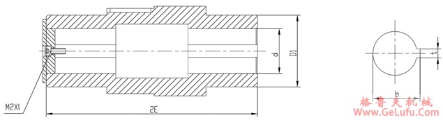
J系列滚轮架专用减速机输出轴安装尺寸

发布日期:2023-12-28 19:50 浏览次数:

J系列滚轮架专用减速机输出轴安装尺寸(图1) QQ:20275456

J系列滚轮架专用减速机输出轴安装尺寸(图2)

微信:grove_company

J系列滚轮架专用减速机输出轴安装尺寸
型号
2E
d
t
b
D1
M2
I
JB1
205
Ø 50
14
53.8
Ø 80
M10
30
JA2/JB2
234
Ø 50
14
53.8
Ø 80
M10
30
Ø 55
16
58.8
JA3/JB3
296
Ø 80
22
85.4
Ø 120
M10
30
Ø 90
25
95.4
JB35
360
Ø 100
28
106.4
Ø 150
M14
40
JA4/JB4
378
Ø 100
28
106.4
Ø 160
M14
40
Ø 110
28
116.4
JA5/JB5
430
Ø 140
36
148.4
Ø 200
M20
50
JB6
490
Ø 180
45
190.4
Ø 260
M20
50
JB7
675
Ø 220
50
231.4
Ø 320
M24
50
JC1
130
Ø 25
8
28.3
Ø 60
M8
30
JC2
150
Ø 32
10
35.3
Ø 65
M8
30
JC3
174
Ø 38
10
41.3
Ø 70
M8
30
JC4
248
Ø 42
12
45.3
Ø 75
M10
30
JC5
272
Ø 50
14
53.8
Ø 80
M10
30

Copyright © 2023-2025 格鲁夫 版权所有 备案号:冀ICP备19023093号-2

电子营业执照图标 电子营业执照
选择语言
Hello,欢迎来咨询~