WX:grove_company

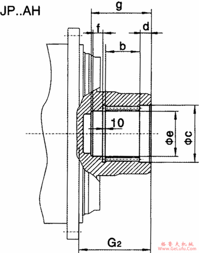
|
机座号 |
输出
扭矩
(N.m) |
渐开线花键空心输出轴 | |||||||
|
内花键规格
DIN54801) |
b |
c
H7 |
d |
e
H7 |
f |
G2 |
g | ||
|
9
10
11 |
22000
31000
42000 |
120×5×30×22×9H
130×5×30×24×9H
140×5×30×26×9H |
70
80
90 |
122
132
142 |
40
40
45 |
107
117
125 |
20
20
25 |
165
174
204 |
150
160
180 |
|
12
13
14 |
60000
83000
117000 |
160×5×30×30×9H
180×5×30×34×9H
210×5×30×40×9H |
100
110
125 |
162
182
212 |
45
45
45 |
145
165
195 |
25
25
25 |
223
237
264 |
190
200
215 |
|
16
17
18 |
160000
202000
244000 |
240×8×30×28×9H
250×8×30×30×9H
260×8×30×31×9H |
140
150
160 |
242
252
262 |
50
50
50 |
220
230
240 |
25
30
30 |
285
290
303 |
235
250
260 |
|
19
20
21 |
295000
354000
392000 |
280×8×30×34×9H
300×8×30×36×9H
310×8×30×37×9H |
170
180
190 |
282
302
312 |
50
50
60 |
260
280
290 |
30
30
40 |
327.5
327.5
354 |
270
280
310 |
|
22
23
24 |
450000
513000
592000 |
330×8×30×40×9H
340×8×30×41×9H
360×8×30×44×9H |
200
200
220 |
332
342
362 |
60
60
60 |
310
320
340 |
40
40
40 |
354
348
368 |
320
320
340 |
|
25
26
27 |
684000
763000
852000 |
380×8×30×46×9H
400×8×30×48×9H
440×8×30×34×9H |
230
240
250 |
382
402
442 |
60
60
60 |
360
380
420 |
40
40
40 |
372
382
423 |
350
360
370 |
|
28
29
30 |
950000
1060000
1200000 |
450×8×30×55×9H
460×8×30×56×9H
480×8×30×58×9H |
260
270
285 |
452
462
482 |
65
65
65 |
430
440
460 |
40
45
45 |
428
433
448 |
385
400
415 |