您好,欢迎进入格鲁夫机械设备制造有限公司官网!
减速机|丝杆升降机|减速电机|行业专用减速机|减速机配件|减速机厂|丝杆升降机厂|转向器厂

联系我们

邮箱:china@gelufu.com
电话:0312-6784766
在线咨询

蜗轮减速机

A球微型蜗杆减速机转矩臂尺寸

发布日期:2023-12-28 18:29 浏览次数:

A球微型蜗杆减速机转矩臂概述

A球微型蜗杆减速机转矩臂尺寸(图1)减速机转矩臂尺寸"> 格鲁夫减速机

A球微型蜗杆减速机转矩臂尺寸是其结构设计中的关键参数,直接影响着设备在系统中的安装稳定性与反作用力的有效平衡。作为蜗轮传动装置的重要组成部分,该部件的主要功能是抵消输出轴在传递扭矩时产生的反向力矩,防止机体本身发生旋转,从而确保整个传动系统平稳、可靠地运行。

格鲁夫齿轮箱

A球微型蜗杆减速机转矩臂尺寸(图2) 格鲁夫机械

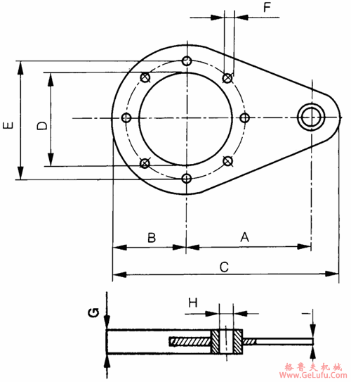
转矩臂尺寸

对于此类微型减速机而言,其转矩臂通常采用高强度铸铁或合金钢制造,以保证足够的刚性和抗疲劳强度。尺寸的精确性至关重要,它不仅关系到与设备机架的连接配合,更影响着力矩支撑点的位置,进而决定了抗扭转的效果。若尺寸不匹配,可能导致安装困难、产生额外振动或噪音,甚至影响整个装置的使用寿命。 www.gelufu.com.cn

型号
A
B
C
D
E
F
G
H
I
25
70
33
118
45
55
7
14
8
6
30
85
38
138
55
65
7
14
8

上表详细列出了25和30两种典型型号的该产品转矩臂的具体尺寸。例如,型号25的总体长度(C)为118mm,安装孔径(D)为45mm,这些数据为工程设计人员提供了直接的选型与安装依据。在实际应用中,如自动化流水线的转向机构、医疗设备精密调节单元或智能门窗启闭系统,选择合适的转矩臂尺寸是保证这类传动装置高效工作的前提。用户在安装时,需确保该部件与固定基座贴合紧密,并使用合适等级的紧固件锁紧,以充分发挥其设计效能。 格鲁夫

总之,理解并正确应用它的转矩臂尺寸,是优化传动方案、提升设备整体性能不可忽视的一环。在选型时,除了关注减速比和输出扭矩,务必根据上表核对该臂的接口尺寸,确保与您的应用场景完美匹配。

fax:0312-6784733

Copyright © 2023-2025 格鲁夫 版权所有 备案号:冀ICP备19023093号-2

电子营业执照图标 电子营业执照
选择语言
Hello,欢迎来咨询~