www.gelufu.com.cn

|
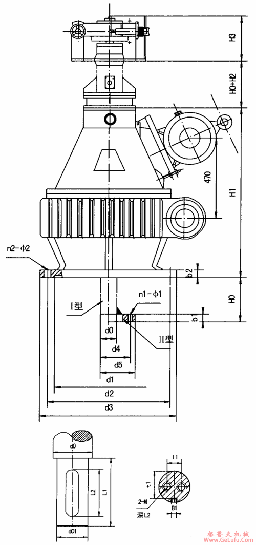
机型号 |
外形安装尺寸 |
机重
(kg) | ||||||||||||||||||||
|
do |
do1 |
d1 |
d2 |
d3 |
d4 |
d5 |
b1 |
b2 |
B1 |
Ho |
H1 |
H2 |
H3 |
L1 |
L2 |
t1 |
t1 |
n1-φ1 |
n2-φ2 |
M | ||
|
WT1 |
50 |
45 |
330 |
400 |
440 |
90 |
120 |
22 |
30 |
14 |
250-1200 |
600 |
260 |
280 |
68 |
60 |
25 |
39.5 |
4-φ14 |
12-φ14 |
M10×20 |
500 |
|
WT2 |
65 |
60 |
370 |
440 |
480 |
110 |
140 |
28 |
34 |
18 |
250-1500 |
660 |
260 |
280 |
98 |
90 |
30 |
63 |
6-φ18 |
12φ18 |
M12×25 |
700 |
|
WT3 |
80 |
75 |
385 |
460 |
550 |
140 |
180 |
32 |
38 |
20 |
300-1800 |
720 |
300 |
320 |
108 |
100 |
35 |
64.5 |
8φ18 |
12-φ18 |
M12×25 |
1000 |
|
WT4 |
100 |
90 |
500 |
570 |
620 |
160 |
200 |
38 |
40 |
25 |
300-2000 |
790 |
300 |
320 |
118 |
110 |
50 |
81 |
12-φ22 |
16-φ22 |
M14×30 |
120 |