

鼓形齿式联轴器属于刚挠性联轴器,特别适用于低速重载工况,如冶金、矿山、起重运输等行业、也适用于石油、化工、通用机械等各类机械的轴系传动。齿式联轴器是由齿数相同的内齿圈和带外齿的凸缘半联轴器等零件组成。外齿分为直齿和鼓形齿两种齿形,所谓鼓形齿即为将外齿制成球面,球面中心在齿轮轴线上, 齿侧间隙较一般齿轮大,鼓形齿联轴器可允许较大的角位移(相对于直齿联轴器),可改善齿的接触条件,提高传递转矩的能力,延长使用寿命。有角位移时沿齿宽 的接触状态。齿式联轴器在工作时,两轴产生相对角位移,内外齿的齿面周期性作轴向相对滑动,必然形成齿面磨损和功率消耗,因此,齿式联轴器需在有良好和密封的状态 下工作。齿式联轴器径向尺寸小,承载能力大,常用于低速重载工况条件的轴系传动,高精度并经动平衡的齿式联轴器可用于高速传动,如燃汽轮机的轴系传动。由于鼓形齿式联轴器角向补偿大于直齿式联轴器,外均广泛采用鼓形齿式联轴器,直齿式联轴器属于被淘汰的产品,选用者应尽量不选用。 格鲁夫机械
鼓形齿式联轴器的特点(与直齿式联轴器相比有以下特点):
1、承载能力强。在相同的内齿套外径和联轴器最大外径下,鼓形齿式联轴器的承载能力平均比直齿式联轴器提高15~20%
2、角位移补偿量大。当径向位移等于零时,直齿式联轴器的许用角位移为1o,而鼓形齿式联轴器的许用角位移为1o30',提高50%。在相同的模数、齿数、齿宽下,鼓形齿比直齿允许的角位移大,
3、鼓形齿面使内、外齿的接触条件得到改善,避免了在角位移条件下直齿齿端棱边挤压,应力集中的弊端,同时改善了齿面摩擦、磨损状况,降低了噪声,维修周期长。
4、外齿套齿端呈喇叭形状,使内、外齿装拆十分方便。
5、传动效率高达99.7%。
基于经上特点,目前,外已普遍以鼓形齿替代直齿式联轴器
微信:grove_company



电话:0312-6784766
格鲁夫机械
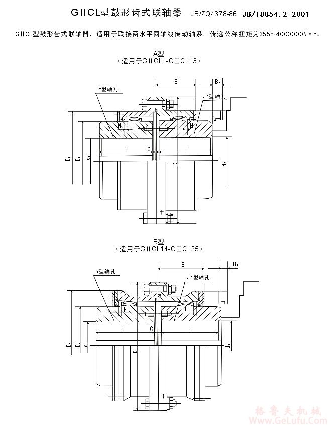
GⅡCL型鼓形齿联轴器(JB/T8854.22001) fax:0312-6784733
GⅡCL20
fax:0312-6784733
GⅡCL型鼓形齿联轴器(JB/T8854.22001) gelufu.com.cn
QQ:20275456
GⅡCL型鼓形齿联轴器(JB/T8854.22001)
GⅡCL型鼓形齿联轴器(JB/T8854.22001)
GⅡCL型鼓形齿联轴器(JB/T8854.22001)
GⅡCL型鼓形齿联轴器(JB/T8854.22001)