格鲁夫配件
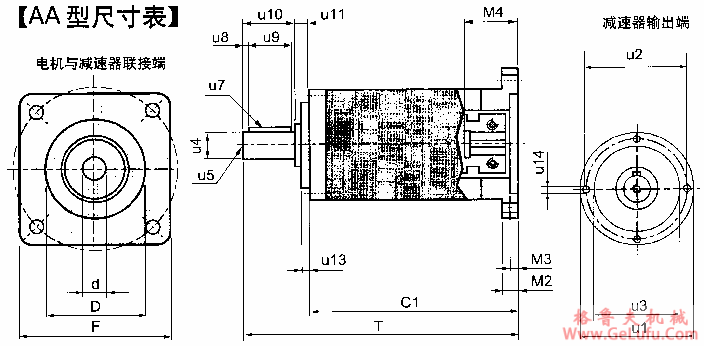
RDS减速机AA型尺寸表 格鲁夫配件
fax:0312-6784733
|
|
规格 |
| ||||
|
55 |
75 |
90 |
120 |
155 | ||
|
u1 |
56 |
75 |
90 |
120 |
155 | |
|
u2 |
44 |
62 |
80 |
108 |
140 | |
|
u3 |
35h7 |
52h7 |
68h7 |
90h7 |
120h7 | |
|
u4 |
12k6 |
16k6 |
22k6 |
32k6 |
40k6 | |
|
u5 |
M4×8 |
M5×12 |
M8×16 |
M10×20 |
M16×32 | |
|
u7 |
4×4 |
5×5 |
6×6 |
10×8 |
12×8 | |
|
u8 |
1.5 |
1.5 |
3 |
4 |
6 | |
|
u9 |
14 |
25 |
30 |
50 |
70 | |
|
u10 |
18 |
28 |
36 |
58 |
82 | |
|
u11 |
6.5 |
8 |
10 |
12 |
11 | |
|
u13 |
4 |
3 |
5 |
6 |
6 | |
|
u14 |
M4×8 |
M5×10 |
M6×12 |
M8×16 |
M10×18 | |
|
C1 |
88 |
110.5 |
141.5 |
174.5 |
204.5 |
1级 |
|
108 |
134 |
173.5 |
212 |
240 |
2级 | |
|
M2 |
12 |
12 |
12 |
15 |
18 |
|
|
M3 |
4 |
4 |
4.5 |
5 |
4.5 | |
|
M4 |
32 |
35 |
50 |
60 |
80 | |
|
F |
90×90max |
116×116max |
140×140max |
140×140max |
190×190max | |
|
T |
112.5 |
146.5 |
187.5 |
244 |
297.5 |
1级 |
|
132.5 |
170 |
219.5 |
282 |
333 |
2级 | |
|
dH7 |
min6 |
min9 |
min11 |
min19 |
min19 |
根据电机配置 |
|
max11 |
max14 |
max24 |
max32 |
max38 | ||
|
Dh6 |
min38 |
min45 |
min60 |
min80 |
min90 | |
|
max80 |
max110 |
max130 |
max130 |
max180 | ||
www.gelufu.com.cn