您好,欢迎进入格鲁夫机械设备制造有限公司官网!
减速机|丝杆升降机|减速电机|行业专用减速机|减速机配件|减速机厂|丝杆升降机厂|转向器厂

联系我们

邮箱:china@gelufu.com
电话:0312-6784766
地址:莲池区焦庄乡 在线咨询

减速电机

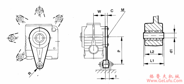
MNAT37、MNAT47、MNAT57、MNAT67、MNAT77、MNAT87、MNAT97、系列圆柱蜗杆减速机的安装尺寸

发布日期:2023-12-28 19:38 浏览次数:

MNAT37、MNAT47、MNAT57、MNAT67、MNAT77、MNAT87、MNAT97、系列圆柱蜗杆减速机的安装尺寸(图1) QQ:47447450

MNAT系列圆柱蜗杆减速机的安装尺寸 mail:china@gelufu.com

MNAT37、MNAT47、MNAT57、MNAT67、MNAT77、MNAT87、MNAT97、系列圆柱蜗杆减速机的安装尺寸(图2) 格鲁夫齿轮箱

型号
C
d1
l
L1
L2
M
P
R
W
MNAT37
10
10.4±0.1
26
36
31
M6×16-8.8
110
21
57
MNAT47
15
10.4±0.1
20.5
36
31
M8×25-8.8
130
21
57.5
MNAT57
15
10.4±0.1
18.5
36
31
M8×25-8.8
160
21
72
MNAT67
18
10.4±0.1
19.5
36
31
M12×35-8.8
200
21
80.5
MNAT77
18
16.4±0.08
32.5
60
54
M12×35-8.8
250
30
101
MNAT87
24
16.4±0.08
25.5
60
54
M16×45-8.8
310
30
120
MNAT97
26
25±0.08
33
80
72
M16×60-8.8
380
40
140
gelufu.com.cn

Copyright © 2023-2025 格鲁夫 版权所有 备案号:冀ICP备19023093号-2

电子营业执照图标 电子营业执照