您好,欢迎进入格鲁夫机械设备制造有限公司官网!
减速机|丝杆升降机|减速电机|行业专用减速机|减速机配件|减速机厂|丝杆升降机厂|转向器厂

联系我们

邮箱:china@gelufu.com
电话:0312-6784766
地址:莲池区焦庄乡 在线咨询

减速电机

JF系列减速机出轴的安装与拆卸(GB10095-88)

发布日期:2023-12-28 19:36 浏览次数:

JF系列减速机出轴的安装与拆卸(GB10095-88)(图1) www.gelufu.com.cn

1) 安装

JF系列减速机出轴的安装与拆卸(GB10095-88)(图2)

电话:0312-6784766

(1) 空心轴 (2) 紧固螺栓 (3) 孔用挡圈 (4) 用户设备轴
安装结构尺寸扭距表
机型
DH7 m)
DK (mm)
LX+2 (mm)
C7 (mm)
MS (Nm)

JFA..27

25
25
22
16
20
JFA..37
30
30
22
16
20
JFA..47
35
35
28
18
20
JFA..57 JFA..67
40
40
36
18
40
JFA..77
50
50
36
18
40
JFA..87
60
60
42
22
80
JFA..97
70
70
42
22
80
JFA..107
90
90
50
26
200
JFA..127
100
100
50
26
200
JFA..157
120
120
50
26
200
注:MS为螺栓扭紧力矩
2) 拆卸

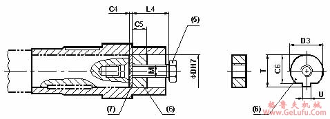
JF系列减速机出轴的安装与拆卸(GB10095-88)(图3)

格鲁夫机械

JF系列减速机出轴的安装与拆卸(GB10095-88)(图4) 邮箱:china@gelufu.com

(5) 拆卸螺栓 (6) 拆卸螺母 (7) 拆卸挡圈
拆卸结构尺寸表
机型
DH7
( Mm)
M
(mm)
C4
(mm)
C5
(mm)
C6
(mm)
U-0.5
(mm)
T-0.5
(mm)
D3-0.5
(mm)
L4
(mm)
JFA..27
25
M10
5
10
20
7.5
28
24.7
35
JFA..37
30
M10
5
10
25
7.5
33
29.7
35
JFA..47
35
M12
5
12
29
9.5
38
34.7
45
JFA..57 JFA..67
40
M16
5
12
34
11.5
41.9
39.7
50
JFA..77
50
M16
5
12
43.5
13.5
53.5
49.7
50
JFA..87
60
M20
5
16
56
17.5
64
59.7
60
JFA..97
70
M20
5
16
65.5
19.5
74.5
69.7
60
JFA..107
90
M24
5
20
80
24.5
95
89.7
70
JFA..127
100
M24
5
20
89
27.5
106
99.7
70
JFA..157
120
M24
5
20
107
31
127
119.7
70

Copyright © 2023-2025 格鲁夫 版权所有 备案号:冀ICP备19023093号-2

电子营业执照图标 电子营业执照