QQ:20275456
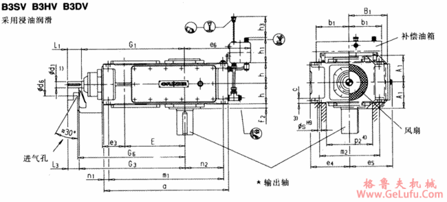
直交轴齿轮箱三级传动立式安装(B3.V)
mail:china@gelufu.com
gelufu.com.cn
格鲁夫机械
格鲁夫齿轮箱
|
规格 |
尺寸mm | ||||||||||||||||
|
输入轴 | |||||||||||||||||
|
iN=12.5-45 |
iN=16-56 |
iN=20-45 |
iN=50-71 |
iN=63-90 |
G1 |
G3 | |||||||||||
|
d11) |
l1 |
l3 |
d11) |
l1 |
l3 |
d11) |
l1 |
l3 |
d11) |
l1 |
l3 |
d11) |
l1 |
l3 | |||
|
3 |
|
|
|
|
|
|
28 |
55 |
40 |
20 |
50 |
35 |
|
|
|
430 |
445 |
|
4 |
30 |
70 |
50 |
|
|
|
|
|
|
25 |
60 |
40 |
|
|
|
500 |
520 |
|
5 |
35 |
80 |
60 |
|
|
|
|
|
|
28 |
60 |
40 |
|
|
|
575 |
595 |
|
6 |
|
|
|
35 |
80 |
60 |
|
|
|
|
|
|
28 |
60 |
40 |
610 |
630 |
|
7 |
45 |
100 |
80 |
|
|
|
|
|
|
35 |
80 |
60 |
|
|
|
690 |
710 |
|
8 |
|
|
|
45 |
100 |
80 |
|
|
|
|
|
|
35 |
80 |
60 |
735 |
755 |
|
9 |
55 |
110 |
80 |
|
|
|
|
|
|
40 |
100 |
70 |
|
|
|
800 |
830 |
|
10 |
|
|
|
55 |
110 |
80 |
|
|
|
|
|
|
40 |
100 |
70 |
850 |
880 |
|
11 |
70 |
135 |
105 |
|
|
|
|
|
|
50 |
110 |
80 |
|
|
|
960 |
990 |
|
12 |
|
|
|
70 |
135 |
105 |
|
|
|
|
|
|
50 |
110 |
80 |
1030 |
1060 |
|
规格 |
尺寸mm | |||||||||||
|
齿轮箱 | ||||||||||||
|
a |
A1 |
b1 |
B1 |
c |
d6 |
e3 |
e4 |
e5 |
e6 |
E |
f2 | |
|
3 |
450 |
128 |
150 |
170 |
24±1 |
90 |
90 |
175 |
185 |
290 |
220 |
20 |
|
4 |
565 |
143 |
150 |
200 |
30±1 |
110 |
110 |
200 |
215 |
320 |
270 |
22 |
|
5 |
640 |
168 |
240 |
235 |
30±1 |
130 |
130 |
230 |
252 |
385 |
315 |
28 |
|
6 |
720 |
168 |
240 |
235 |
30±1 |
130 |
130 |
230 |
252 |
425 |
350 |
28 |
|
7 |
785 |
193 |
240 |
275 |
36±1 |
165 |
160 |
280 |
292 |
425 |
385 |
30 |
|
8 |
890 |
193 |
240 |
275 |
36±1 |
165 |
160 |
280 |
302 |
485 |
430 |
32 |
|
9 |
925 |
231 |
330 |
325 |
45±1.5 |
175 |
185 |
320 |
342 |
560 |
450 |
32 |
|
10 |
1025 |
231 |
330 |
325 |
45±1.5 |
175 |
185 |
320 |
342 |
610 |
500 |
32 |
|
11 |
1105 |
263 |
330 |
385 |
54±1.5 |
190 |
225 |
380 |
402 |
595 |
545 |
35 |
|
12 |
1260 |
263 |
330 |
385 |
54±1.5 |
190 |
225 |
380 |
410 |
680 |
615 |
35 |
|
规格 |
尺寸mm | |||||||||||
|
齿轮箱 | ||||||||||||
|
f3 |
G6 |
h |
h1 |
h2 |
h3 |
m1 |
m2 |
n1 |
n2 |
P24) |
s | |
|
3 |
- |
455 |
95 |
165 |
- |
180 |
410 |
265 |
20 |
125 |
210 |
18 |
|
4 |
- |
530 |
107.5 |
165 |
- |
180 |
505 |
300 |
30 |
160 |
220 |
24 |
|
5 |
190 |
605 |
127.5 |
205 |
180 |
240 |
580 |
360 |
30 |
175 |
270 |
24 |
|
6 |
190 |
640 |
127.5 |
205 |
180 |
240 |
660 |
360 |
30 |
220 |
270 |
24 |
|
7 |
190 |
720 |
150 |
205 |
165 |
250 |
715 |
430 |
35 |
215 |
330 |
28 |
|
8 |
190 |
765 |
150 |
205 |
165 |
250 |
820 |
430 |
35 |
275 |
330 |
28 |
|
9 |
180 |
845 |
185 |
275 |
205 |
330 |
845 |
490 |
40 |
260 |
370 |
36 |
|
10 |
180 |
895 |
185 |
275 |
205 |
330 |
945 |
490 |
40 |
310 |
370 |
36 |
|
11 |
180 |
1010 |
215 |
275 |
240 |
340 |
1005 |
600 |
50 |
295 |
440 |
40 |
|
12 |
180 |
1080 |
215 |
275 |
240 |
340 |
1160 |
600 |
50 |
380 |
440 |
40 |
|
规格 |
尺寸mm |
润滑油 |
重量
(kg) | |||||||||
|
输出轴 |
浸油润滑
(1) |
强制润滑
(1) | ||||||||||
|
B3SV |
B3HV |
B3DV | ||||||||||
|
d21) |
G2 |
l2 |
D22) |
G4 |
D3 |
D4 |
G4 |
G5 | ||||
|
3 |
65 |
125 |
140 |
65 |
125 |
70 |
70 |
125 |
180 |
15 |
- |
130 |
|
4 |
80 |
140 |
170 |
80 |
140 |
85 |
85 |
140 |
205 |
28 |
- |
210 |
|
5 |
100 |
165 |
210 |
95 |
165 |
100 |
100 |
165 |
240 |
32 |
12 |
325 |
|
6 |
110 |
165 |
210 |
105 |
165 |
110 |
110 |
165 |
240 |
35 |
13 |
380 |
|
7 |
120 |
195 |
210 |
115 |
195 |
120 |
120 |
195 |
280 |
52 |
22 |
550 |
|
8 |
130 |
195 |
250 |
125 |
195 |
130 |
130 |
195 |
285 |
67 |
28 |
635 |
|
9 |
140 |
235 |
250 |
135 |
235 |
140 |
145 |
235 |
330 |
115 |
48 |
890 |
|
10 |
160 |
235 |
300 |
150 |
235 |
150 |
155 |
235 |
350 |
125 |
52 |
1020 |
|
11 |
170 |
270 |
300 |
165 |
270 |
165 |
170 |
270 |
400 |
180 |
75 |
1455 |
|
12 |
180 |
270 |
300 |
180 |
270 |
180 |
185 |
270 |
405 |
200 |
85 |
1730 |