QQ:47447450
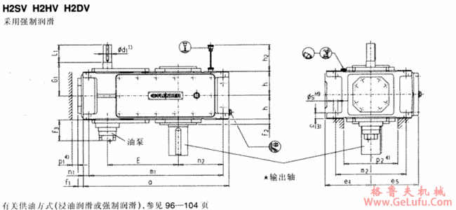
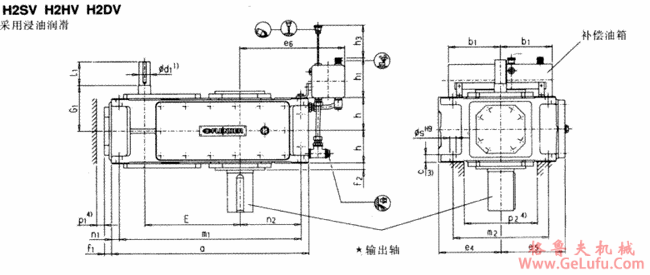
平行轴齿轮箱两级传动立式安装(类型H2.V)
gelufu
mail:china@gelufu.com
fax:0312-6784733
fax:0312-6784733
|
规格 |
尺寸mm | ||||||||
|
输入轴 | |||||||||
|
iN=6.3-11.2 |
iN=8-14 |
iN=12.5-22.4 |
iN=16-28 |
G1 | |||||
|
d11) |
l1 |
d11) |
l1 |
d11) |
l1 |
d11) |
l1 | ||
|
3 |
35 |
60 |
|
|
28 |
50 |
|
|
135 |
|
4 |
45 |
100 |
|
|
32 |
80 |
|
|
170 |
|
5 |
50 |
100 |
|
|
38 |
80 |
|
|
195 |
|
6 |
|
|
50 |
100 |
|
|
38 |
80 |
195 |
|
7 |
60 |
135 |
|
|
50 |
110 |
|
|
210 |
|
8 |
|
|
60 |
135 |
|
|
50 |
110 |
210 |
|
9 |
75 |
140 |
|
|
60 |
140 |
|
|
240 |
|
10 |
|
|
75 |
140 |
|
|
60 |
140 |
240 |
|
11 |
90 |
165 |
|
|
70 |
140 |
|
|
275 |
|
12 |
|
|
90 |
165 |
|
|
70 |
140 |
275 |
|
规格 |
尺寸mm | |||||||||
|
齿轮箱 | ||||||||||
|
a |
b1 |
c |
e4 |
e5 |
e6 |
E |
f1 |
f2 |
f3 | |
|
3 |
450 |
150 |
24±1 |
175 |
185 |
290 |
220 |
28 |
20 |
- |
|
4 |
565 |
150 |
30±1 |
200 |
215 |
320 |
270 |
28 |
22 |
- |
|
5 |
640 |
240 |
30±1 |
230 |
252 |
385 |
315 |
38 |
28 |
150 |
|
6 |
720 |
240 |
30±1 |
230 |
252 |
425 |
350 |
38 |
28 |
150 |
|
7 |
785 |
240 |
36±1 |
280 |
292 |
425 |
385 |
42 |
30 |
145 |
|
8 |
890 |
240 |
36±1 |
280 |
302 |
485 |
430 |
42 |
32 |
145 |
|
9 |
925 |
330 |
45±1.5 |
320 |
342 |
560 |
450 |
42 |
32 |
135 |
|
10 |
1025 |
330 |
45±1.5 |
320 |
342 |
610 |
500 |
42 |
32 |
135 |
|
11 |
1105 |
330 |
54±1.5 |
380 |
402 |
595 |
545 |
48 |
35 |
145 |
|
12 |
1260 |
330 |
54±1.5 |
380 |
410 |
680 |
615 |
48 |
35 |
145 |
|
规格 |
尺寸mm | ||||||||||
|
齿轮箱 | |||||||||||
|
h |
h1 |
h2 |
h3 |
m1 |
m2 |
n1 |
n2 |
P14) |
P24) |
s | |
|
3 |
95 |
165 |
- |
180 |
410 |
265 |
20 |
125 |
35 |
210 |
18 |
|
4 |
107.5 |
165 |
- |
180 |
505 |
300 |
30 |
160 |
35 |
220 |
24 |
|
5 |
127.5 |
205 |
190 |
240 |
580 |
360 |
30 |
175 |
35 |
270 |
24 |
|
6 |
127.5 |
205 |
190 |
240 |
660 |
360 |
30 |
220 |
35 |
270 |
24 |
|
7 |
150 |
205 |
165 |
250 |
715 |
430 |
35 |
215 |
35 |
330 |
28 |
|
8 |
150 |
205 |
165 |
250 |
820 |
430 |
35 |
275 |
35 |
330 |
28 |
|
9 |
185 |
275 |
205 |
330 |
845 |
490 |
40 |
260 |
40 |
370 |
36 |
|
10 |
185 |
275 |
205 |
330 |
945 |
490 |
40 |
310 |
40 |
370 |
36 |
|
11 |
215 |
275 |
240 |
340 |
1005 |
600 |
50 |
295 |
50 |
440 |
40 |
|
12 |
215 |
275 |
240 |
340 |
1160 |
600 |
50 |
380 |
50 |
440 |
40 |
|
规格 |
尺寸mm |
润滑油 |
重量
(kg) | |||||||||
|
输出轴 |
浸油润滑
(1) |
强制润滑
(1) | ||||||||||
|
H2SV |
H2HV |
H2DV | ||||||||||
|
d21) |
G2 |
l2 |
D22) |
G4 |
D3 |
D4 |
G4 |
G5 | ||||
|
3 |
65 |
125 |
140 |
65 |
125 |
70 |
70 |
125 |
180 |
14 |
- |
115 |
|
4 |
80 |
140 |
170 |
80 |
140 |
85 |
85 |
140 |
205 |
25 |
- |
190 |
|
5 |
100 |
165 |
210 |
95 |
165 |
100 |
100 |
165 |
240 |
23 |
10 |
300 |
|
6 |
110 |
165 |
210 |
105 |
165 |
110 |
110 |
165 |
240 |
27 |
11 |
355 |
|
7 |
120 |
195 |
210 |
115 |
195 |
120 |
120 |
195 |
280 |
58 |
22 |
505 |
|
8 |
130 |
195 |
250 |
125 |
195 |
130 |
130 |
195 |
285 |
62 |
25 |
590 |
|
9 |
140 |
235 |
250 |
135 |
235 |
140 |
145 |
235 |
330 |
100 |
42 |
830 |
|
10 |
160 |
235 |
300 |
150 |
235 |
150 |
155 |
235 |
350 |
110 |
46 |
960 |
|
11 |
170 |
270 |
300 |
165 |
270 |
165 |
170 |
270 |
400 |
160 |
60 |
1335 |
|
12 |
180 |
270 |
300 |
180 |
270 |
180 |
185 |
270 |
405 |
180 |
70 |
1615 |