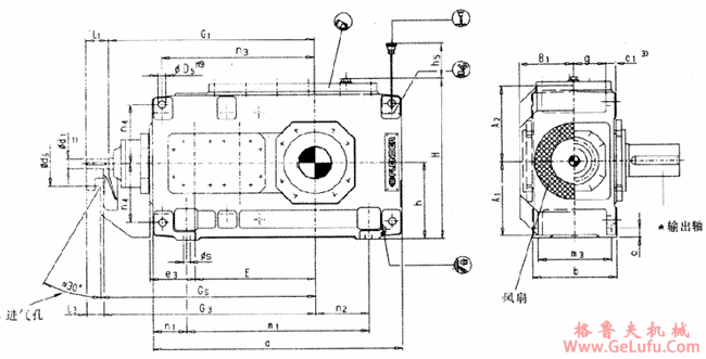
格鲁夫
直交轴齿轮箱三级传动卧式安装(B3.H) 手机:13331225020
传真:0312-6784733
Tel:0312-6784766
|
规格 |
尺寸mm | ||||||||||||||||
|
输入轴 | |||||||||||||||||
|
iN=12.5-45 |
iN=16-56 |
iN=20-45 |
iN=50-71 |
iN=63-90 |
G1 |
G3 | |||||||||||
|
d11) |
l1 |
l3 |
d11) |
l1 |
l3 |
d11) |
l1 |
l3 |
d11) |
l1 |
l3 |
d11) |
l1 |
l3 | |||
|
3 |
|
|
|
|
|
|
28 |
55 |
40 |
20 |
50 |
35 |
|
|
|
430 |
445 |
|
4 |
30 |
70 |
50 |
|
|
|
|
|
|
25 |
60 |
40 |
|
|
|
500 |
520 |
|
5 |
35 |
80 |
60 |
|
|
|
|
|
|
28 |
60 |
40 |
|
|
|
575 |
595 |
|
6 |
|
|
|
35 |
80 |
60 |
|
|
|
|
|
|
28 |
60 |
40 |
610 |
630 |
|
7 |
45 |
100 |
80 |
|
|
|
|
|
|
35 |
80 |
60 |
|
|
|
690 |
710 |
|
8 |
|
|
|
45 |
100 |
80 |
|
|
|
|
|
|
35 |
80 |
60 |
735 |
755 |
|
9 |
55 |
110 |
80 |
|
|
|
|
|
|
40 |
100 |
70 |
|
|
|
800 |
830 |
|
10 |
|
|
|
55 |
110 |
80 |
|
|
|
|
|
|
40 |
100 |
70 |
850 |
880 |
|
11 |
70 |
135 |
105 |
|
|
|
|
|
|
50 |
110 |
80 |
|
|
|
960 |
990 |
|
12 |
|
|
|
70 |
135 |
105 |
|
|
|
|
|
|
50 |
110 |
80 |
1030 |
1060 |
|
规格 |
尺寸mm | |||||||||||
|
齿轮箱 | ||||||||||||
|
a |
A1 |
A2 |
b |
B1 |
c |
c1 |
d6 |
D5 |
e3 |
E |
g | |
|
3 |
450 |
170 |
170 |
190 |
128 |
22 |
24±1 |
90 |
18 |
90 |
220 |
71 |
|
4 |
565 |
195 |
200 |
215 |
143 |
28 |
30±1 |
110 |
24 |
110 |
270 |
77.5 |
|
5 |
640 |
220 |
235 |
255 |
168 |
28 |
30±1 |
130 |
24 |
130 |
315 |
97.5 |
|
6 |
720 |
220 |
235 |
255 |
168 |
28 |
30±1 |
130 |
24 |
130 |
350 |
97.5 |
|
7 |
785 |
275 |
275 |
300 |
193 |
35 |
36±1 |
165 |
28 |
160 |
385 |
114 |
|
8 |
890 |
275 |
275 |
300 |
193 |
35 |
36±1 |
165 |
28 |
160 |
430 |
114 |
|
9 |
925 |
315 |
325 |
370 |
231 |
40 |
45±1.5 |
175 |
36 |
185 |
450 |
140 |
|
10 |
1025 |
315 |
325 |
370 |
231 |
40 |
45±1.5 |
175 |
36 |
185 |
500 |
140 |
|
11 |
1105 |
370 |
385 |
430 |
263 |
50 |
54±1.5 |
190 |
40 |
225 |
545 |
161 |
|
12 |
1260 |
370 |
385 |
430 |
263 |
50 |
54±1.5 |
190 |
40 |
225 |
615 |
161 |
|
规格 |
尺寸mm | ||||||||||
|
齿轮箱 | |||||||||||
|
G6 |
h |
h5 |
H |
m1 |
m3 |
n1 |
n2 |
n3 |
n4 |
s | |
|
3 |
455 |
175 |
100 |
360 |
290 |
160 |
80 |
65 |
285 |
132.5 |
15 |
|
4 |
530 |
200 |
100 |
415 |
355 |
180 |
105 |
85 |
345 |
150 |
19 |
|
5 |
605 |
230 |
130 |
482 |
430 |
220 |
105 |
100 |
405 |
180 |
19 |
|
6 |
640 |
230 |
130 |
482 |
510 |
220 |
105 |
145 |
440 |
180 |
19 |
|
7 |
720 |
280 |
170 |
572 |
545 |
260 |
120 |
130 |
500 |
215 |
24 |
|
8 |
765 |
280 |
160 |
582 |
650 |
260 |
120 |
190 |
545 |
215 |
24 |
|
9 |
845 |
320 |
175 |
662 |
635 |
320 |
145 |
155 |
585 |
245 |
28 |
|
10 |
895 |
320 |
175 |
662 |
735 |
320 |
145 |
205 |
635 |
245 |
28 |
|
11 |
1010 |
380 |
220 |
782 |
775 |
370 |
165 |
180 |
710 |
300 |
35 |
|
12 |
1080 |
380 |
210 |
790 |
930 |
370 |
165 |
265 |
780 |
300 |
35 |
|
规格 |
尺寸mm |
润滑油
(1) |
重量
(kg) | ||||||||
|
输出轴 | |||||||||||
|
B3SH |
B3HH |
B3DH | |||||||||
|
d21) |
G2 |
l2 |
D22) |
G4 |
D3 |
D4 |
G4 |
G5 | |||
|
3 |
65 |
125 |
140 |
65 |
125 |
70 |
70 |
125 |
180 |
6 |
130 |
|
4 |
80 |
140 |
170 |
80 |
140 |
85 |
85 |
140 |
205 |
9 |
210 |
|
5 |
100 |
165 |
210 |
95 |
165 |
100 |
100 |
165 |
240 |
14 |
325 |
|
6 |
110 |
165 |
210 |
105 |
165 |
110 |
110 |
165 |
240 |
15 |
380 |
|
7 |
120 |
195 |
210 |
115 |
195 |
120 |
120 |
195 |
280 |
25 |
550 |
|
8 |
130 |
195 |
250 |
125 |
195 |
130 |
130 |
195 |
285 |
28 |
635 |
|
9 |
140 |
235 |
250 |
135 |
235 |
140 |
145 |
235 |
330 |
40 |
890 |
|
10 |
160 |
235 |
300 |
150 |
235 |
150 |
155 |
235 |
350 |
42 |
1020 |
|
11 |
170 |
270 |
300 |
165 |
270 |
165 |
170 |
270 |
400 |
66 |
1455 |
|
12 |
180 |
270 |
300 |
180 |
270 |
180 |
185 |
270 |
405 |
72 |
1730 |