您好,欢迎进入格鲁夫机械设备制造有限公司官网!
减速机|丝杆升降机|减速电机|行业专用减速机|减速机配件|减速机厂|丝杆升降机厂|转向器厂

联系我们

邮箱:china@gelufu.com
电话:0312-6784766
在线咨询

YLM2型炉用密封异步电动机概述及结构简介

发布日期:2023-12-28 22:09 浏览次数:

YLM2型炉用密封异步电动机概述及结构简介(图1) www.gelufu.com

一、概述
YLM2炉用密封电动机是根据市场需要,在原来生产的YLM、YLM1基础上研制的电动机,主要用于真空度小于1.3332Pa井式回火炉、退化炉、氮化炉及各种箱式保护气体加热炉的内风扇的原动力。由于该电动机在端盖、出现盒等部分加装了O型密封圈。使电动机与外界隔离。改变了过去电炉一般沿用的动密封结构
而采用静密封提高了电炉的密封性能。该电动机在前端盖及机座内加装了水冷却套,在通水的情况下,能保证电动机的轴身风扇端在950℃高温下连续长期运行。该电动机采用F级绝缘,防护等级为IP54,冷却方式符合ICW37A41的规定。
电动机具有外形美观、重量轻、效率高、寿命长,设计结构合理,运行可靠,维护使用方便等特点。
使用条件冷却水温不超过30℃;海拔不超过1000m;额定电压为380V;额定频率为50HZ;接法在3KW及以下为Y连;4KW及以上为△联结。
型号含义
YLM2型炉用密封异步电动机概述及结构简介(图2)
二、结构简介
电动机的轴伸端端盖内有空腔,可通冷却水冷却轴、轴承,防止炉内热量传入电动机内部。
机壳内有空腔,可通冷却水。
定子、转子铁心采用优质钢硅片叠压而成。定子绕组采用F级绝缘,并用优质F130浸渍两次。转子为笼型,铸铝,端环带有鼓风散热风翼,转子装在轴上校正平衡。
接线盒:具有良好的密封性能,盒内空腔较大,便于接线。
轴承与润滑:电动机采用Z2级电动机专用轴承,具有精度高、噪声小等优点。润滑油为锂基润滑脂。
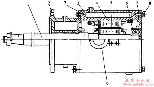
YLM2型结构图(见图1)。
YLM2型炉用密封异步电动机概述及结构简介(图3)
图1 YLM2型结构图
1―转轴 2―水冷盖 3―水冷机座4―定子 5―转子
6―轴承 7―密封垫圈 8―后端盖 9―出线盒

Copyright © 2023-2025 格鲁夫 版权所有 备案号:冀ICP备19023093号-2

电子营业执照图标 电子营业执照
选择语言
Hello,欢迎来咨询~