邮箱:china@gelufu.com
Y(YR)400~450(IP23)外形尺寸 gelufu.com.cn
格鲁夫配件
|
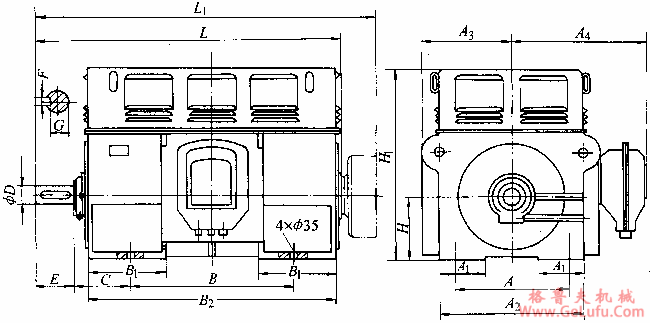
机座号 |
A |
A1 |
A2 |
A3 |
A4 |
B |
B1 |
B2 |
C |
D |
E |
F |
G |
H |
H1 |
L |
L1 |
|
400~2 |
710 |
275 |
900 |
560 |
720 |
1000 |
500 |
1510 |
335 |
75 |
140 |
20 |
67.5 |
400 |
1200 |
1790 |
― |
|
400-4~12 |
110 |
210 |
28 |
100 |
1860 |
2420 | |||||||||||
|
450~12 |
800 |
305 |
1000 |
620 |
780 |
1120 |
575 |
1660 |
355 |
130 |
250 |
32 |
119 |
450 |
1350 |
2075 |
2640 |

|
机座号 |
H1 |
L |
L1 |
|
400~2 |
1445 |
1955 |
― |
|
400-4~12 |
2025 |
2585 | |
|
450~12 |
1625 |
2235 |
2795 |